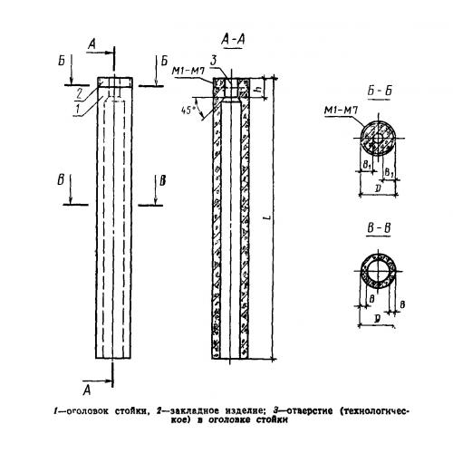
С 7-138-8К1
Характеристики изделия:
| Параметр | Значение |
|---|---|
| длина | 13800 мм |
| ширина | 700 мм |
| высота | 700 мм |
| масса | 5700 кг |
| нормативный документ | ГОСТ 23444-79 |
Цена:
Рассчитать стоимостьС 7-138-8К1 Стойки железобетонные центрифугированные кольцевого сечения для производственных зданий и инженерных сооружений ГОСТ 23444-79.
