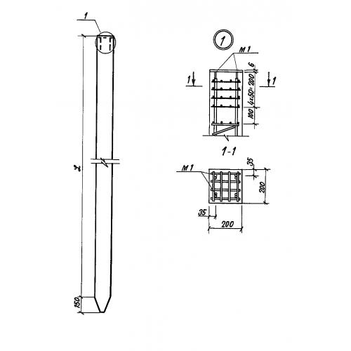
СС 60.2
Характеристики изделия:
| Параметр | Значение |
|---|---|
| длина | 6000 мм |
| ширина | 200 мм |
| высота | 200 мм |
| масса | 630 кг |
| нормативный документ | ГОСТ 24155-80 |
Цена:
Рассчитать стоимостьСС 60.2 Сваи-стойки ГОСТ 24155-80.
| Параметр | Значение |
|---|---|
| длина | 6000 мм |
| ширина | 200 мм |
| высота | 200 мм |
| масса | 630 кг |
| нормативный документ | ГОСТ 24155-80 |
СС 60.2 Сваи-стойки ГОСТ 24155-80.
