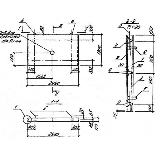
ПЛ 2 плиты лицевые

Чертеж изделия:
Характеристики изделия:
ПараметрЗначение
длина2980 мм
ширина130 мм
высота1800 мм
масса1800 кг
нормативный документГОСТ 26815-86

ПЛ 2  Плиты лицевые ГОСТ 26815-86.