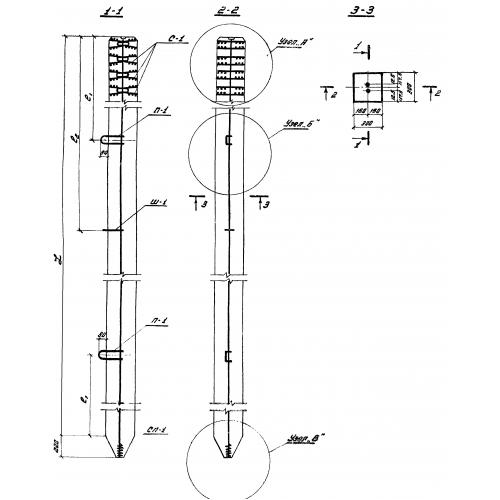
СЦп 11-30

Чертеж изделия:
Характеристики изделия:
ПараметрЗначение
длина11000 мм
ширина300 мм
высота300 мм
вес2453 кг
серия1.011-2

СЦп 11-30 Сваи квадратного сечения без поперечного армирования ствола по серии 1.011-2.