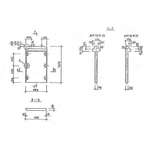
2Д 12.33 диафрагмы жесткости

Чертеж изделия:
Характеристики изделия:
ПараметрЗначение
длина1180 мм
ширина550 мм
высота3270 мм
масса1750 кг
нормативный документСерия 1.020-1/87

2Д 12.33   Диафрагмы жесткости с двумя полками Серия 1.020-1/87.