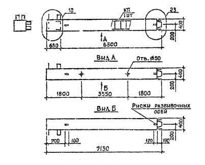
КВ 80

Чертеж изделия:
Характеристики изделия:
ПараметрЗначение
длина7150 мм
ширина400 мм
высота400 мм
масса2800 кг
нормативный документСерия 1.020.1-2с/89

КВ 80 Колонны верхние Серия 1.020.1-2с/89.