ПСЦ 60.31.35
Характеристики изделия:
| Параметр | Значение |
|---|---|
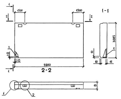
| длина | 5980 мм |
| ширина | 3085 мм |
| высота | 350 мм |
| масса | 8580 кг |
| нормативный документ | Серия 1.020.1-3пв |
Цена:
Рассчитать стоимостьПСЦ 60.31.35 Панели стеновые цокольные Серия 1.020.1-3пв.
| Параметр | Значение |
|---|---|
| длина | 5980 мм |
| ширина | 3085 мм |
| высота | 350 мм |
| масса | 8580 кг |
| нормативный документ | Серия 1.020.1-3пв |
ПСЦ 60.31.35 Панели стеновые цокольные Серия 1.020.1-3пв.