2КНД 48.48

Чертеж изделия:
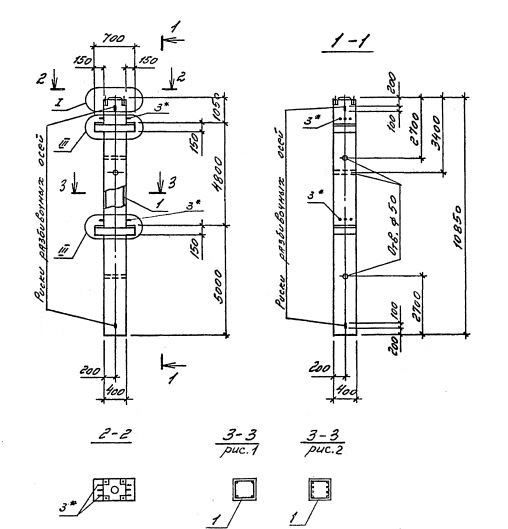
Характеристики изделия:
ПараметрЗначение
длина10850 мм
ширина400 мм
высота700 мм
масса4430 кг
нормативный документСерия 1.020.1-4

2КНД 48.48    Колонны двухконсольные для нижних этажей (Серия 1.020.1-4).

Маркировка с учетом диаметра угловых и промежуточных стержней арматуры, в мм. и марки бетона:

2КНД 48.48-3.20.00

2КНД 48.48-3.22.00

2КНД 48.48-3.28.00

2КНД 48.48-3.32.00

2КНД 48.48-4.32.00

2КНД 48.48-3.36.00

2КНД 48.48-4.36.00

2КНД 48.48-5.36.00

2КНД 48.48-3.40.00

2КНД 48.48-4.40.00 

2КНД 48.48-5.40.00 

2КНД 48.48-5.32.28

2КНД 48.48-6.36.32

2КНД 48.48-6.36.36

2КНД 48.48-6.40.22

2КНД 48.48-6.40.36