2ВД 12-33

Чертеж изделия:
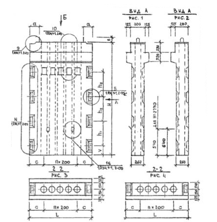
Характеристики изделия:
ПараметрЗначение
длина1180 мм
ширина550 мм
высота3270 мм
масса2033 кг
нормативный документСерия 1.034.1-1

2ВД 12-33  Вентиляционные блоки-диафрагмы жесткости двухконсольные (Серия 1.034.1-1).