ПТ 86.13

Чертеж изделия:
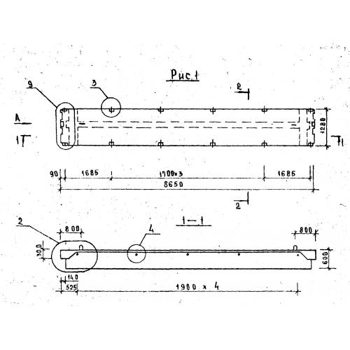
Характеристики изделия:
ПараметрЗначение
длина8650 мм
ширина1280 мм
высота600 мм
вес4110 кг
серия1.042.1-2

ПТ 86.13 Плиты перекрытий тип "Т" по серии 1.042.1-2.