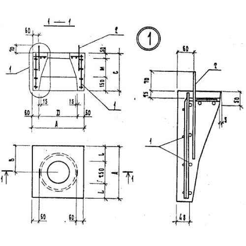
ОС

Чертеж изделия:
Характеристики изделия:
ПараметрЗначение
длина700 мм
ширина700 мм
высота500 мм
вес440 кг
серия1.111.1-4

ОС Оголовки свай типа "Колокол" по серии 1.111.1-4.