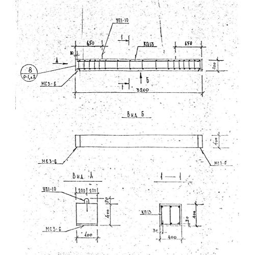
Б 32

Чертеж изделия:
Характеристики изделия:
ПараметрЗначение
длина3200 мм
ширина400 мм
высота400 мм
вес1280 кг
серия1.125 КЛ-3

Б 32 Балки по серии 1.125 КЛ-3.