Б 55

Чертеж изделия:
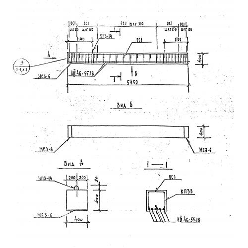
Характеристики изделия:
ПараметрЗначение
длина5450 мм
ширина400 мм
высота400 мм
вес2180 кг
серия1.125 КЛ-3

Б 55 Балки по серии 1.125 КЛ-3.