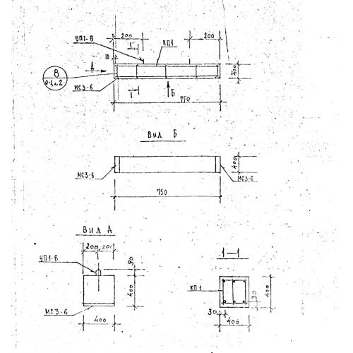
Б 8

Чертеж изделия:
Характеристики изделия:
ПараметрЗначение
длина750 мм
ширина400 мм
высота400 мм
вес300 кг
серия1.125 КЛ-3

Б 8 Балки по серии 1.125 КЛ-3.