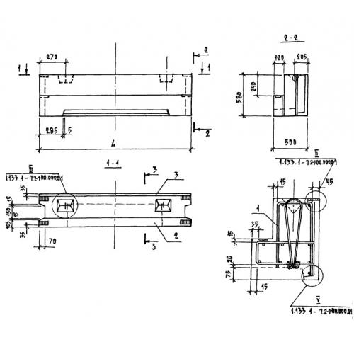
3БН 24.6.50
Характеристики изделия:
| Параметр | Значение |
|---|---|
| длина | 2380 мм |
| ширина | 500 мм |
| высота | 580 мм |
| вес | 790 кг |
| серия | 1.133.1-7 |
Цена:
Рассчитать стоимость3БН 24.4.60 Блоки перемычечные по серии 1.133.1-7.
| Параметр | Значение |
|---|---|
| длина | 2380 мм |
| ширина | 500 мм |
| высота | 580 мм |
| вес | 790 кг |
| серия | 1.133.1-7 |
3БН 24.4.60 Блоки перемычечные по серии 1.133.1-7.
