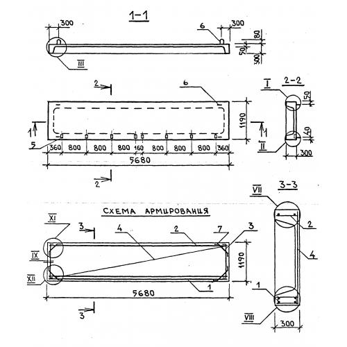
ПРЛ 57.12.3
Характеристики изделия:
| Параметр | Значение |
|---|---|
| длина | 5680 мм |
| ширина | 1190 мм |
| высота | 300 мм |
| вес | 2130 мм |
| серия | 1.137.1-6 |
Цена:
Рассчитать стоимостьПРЛ 57.12.3 Плита лоджий ребристая. Панели перекрытия лоджий по серии 1.137.1-6.
| Параметр | Значение |
|---|---|
| длина | 5680 мм |
| ширина | 1190 мм |
| высота | 300 мм |
| вес | 2130 мм |
| серия | 1.137.1-6 |
ПРЛ 57.12.3 Плита лоджий ребристая. Панели перекрытия лоджий по серии 1.137.1-6.
