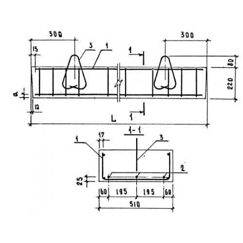
2ПР 20

Чертеж изделия:
Характеристики изделия:
ПараметрЗначение
длина2070 мм
ширина510 мм
высота220 мм
вес581 кг
серия1.138-10

2ПР 20 Перемычки плитные по серии 1.138-10.