ПК 63.15 Плиты перекрытия железобетонные многопустотные

Чертеж изделия:
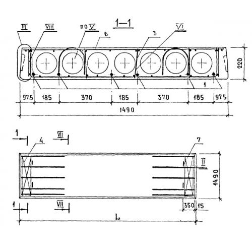
Характеристики изделия:
ПараметрЗначение
длина6280 мм
ширина1490 мм
высота220 мм
масса2950 кг
нормативный документСерия 1.141-1

ПК 63.15  Плиты перекрытия железобетонные многопустотные Серия 1.141-1.