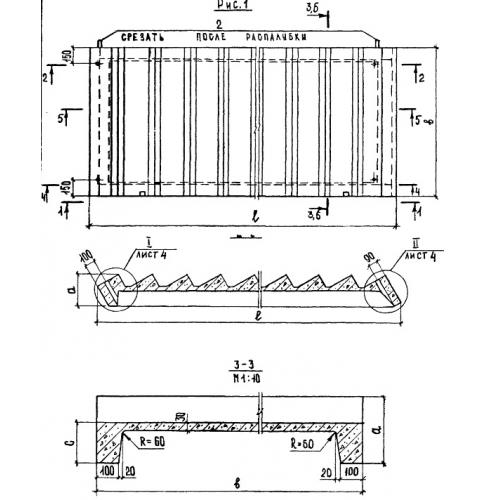
ЛМ 18.12

Чертеж изделия:
Характеристики изделия:
ПараметрЗначение
длина4249 мм
ширина1200 мм
высота295 мм
вес1400 кг
серия1.251-3

ЛМ 18.12 Лестничные марши ребристые по серии 1.251-3.