ПСД 30.12.30

Чертеж изделия:
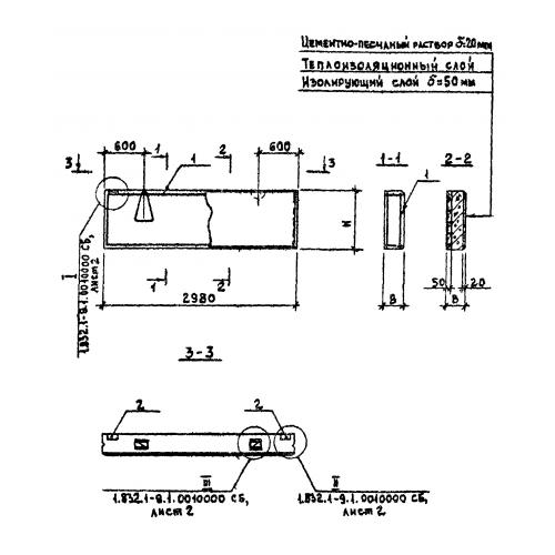
Характеристики изделия:
ПараметрЗначение
длина2980 мм
ширина300 мм
высота1180 мм
вес2000 кг
серия1.832.1-9

ПСД 30.12.30 Панели стеновые двухслойные по серии 1.832.1-9.