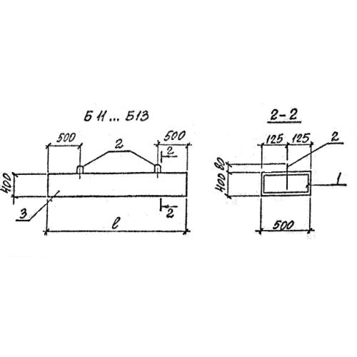
Б 11 балки

Чертеж изделия:
Характеристики изделия:
ПараметрЗначение
длина4080 мм
ширина500 мм
высота400 мм
масса2000 кг
нормативный документСерия 3.006.1-8

Б 11  Балки перекрытия каналов Серия 3.006.1-8.