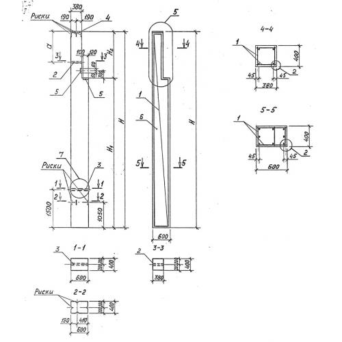
К 38 колонна сборная

Чертеж изделия:
Характеристики изделия:
ПараметрЗначение
длина7500 мм
ширина600 мм
высота600 мм
масса4100 кг
нормативный документСерия 3.015-1/92

К 38  Колонны сборные Серия 3.015-1/92.