СН 10-30

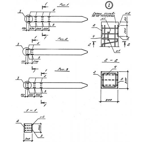
Чертеж изделия:
Характеристики изделия:
ПараметрЗначение
длина10000 мм
ширина300 мм
высота300 мм
масса2280 кг
нормативный документСерия 3.016.1-9

СН 10-30  Сваи-колонны с напрягаемой арматурой Серия 3.016.1-9.