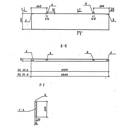
ПЦ 30.6 цокольная панель

Чертеж изделия:
Характеристики изделия:
ПараметрЗначение
длина2980 мм
ширина600 мм
высота70 мм
масса225 кг
нормативный документСерия 3.017-3

ПЦ 30.6 Цокольные панели Серия 3.017-3.