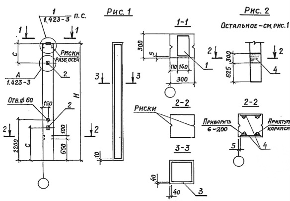
К 36-1б

Чертеж изделия:
Характеристики изделия:
ПараметрЗначение
Длина4400 мм
Ширина300 мм
Высота300 мм
Масса1000 кг
Нормативный документСерия 3.019.1-1

К 36-1б  Колонна по Серии 3.019.1-1.