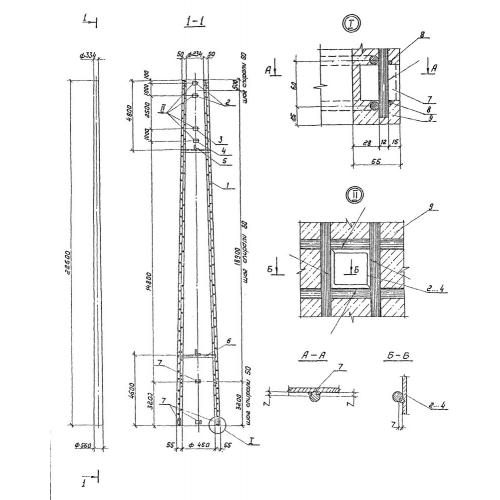
СК 22

Чертеж изделия:
Характеристики изделия:
ПараметрЗначение
длина22600 мм
ширина560 мм
высота560 мм
вес3928 кг
серия3.407.1-175

СК 22 Стойки конические по серии 3.407.1-175.