Р

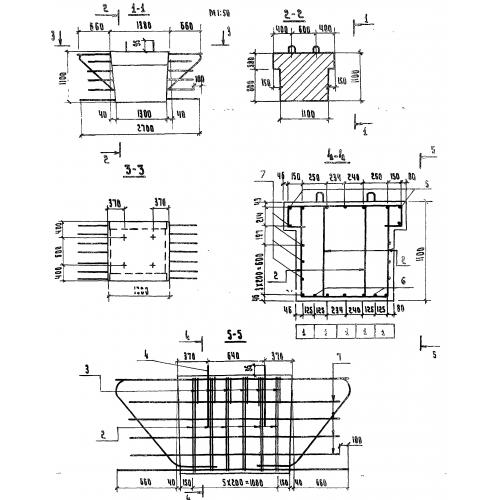
Чертеж изделия:
Характеристики изделия:
ПараметрЗначение
длина2700 мм
ширина1400 мм
высота1100 мм
вес4300 кг
серия3.503.1-53

Р Блоки ригеля по серии 3.503.1-53.