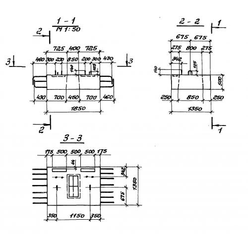
Ш-2

Чертеж изделия:
Характеристики изделия:
ПараметрЗначение
длина2650 мм
ширина400 мм
высота970 мм
вес1100 кг
серия3.503.1-53

Ш-2 Блоки шкафной стенки по серии 3.503.1-53.