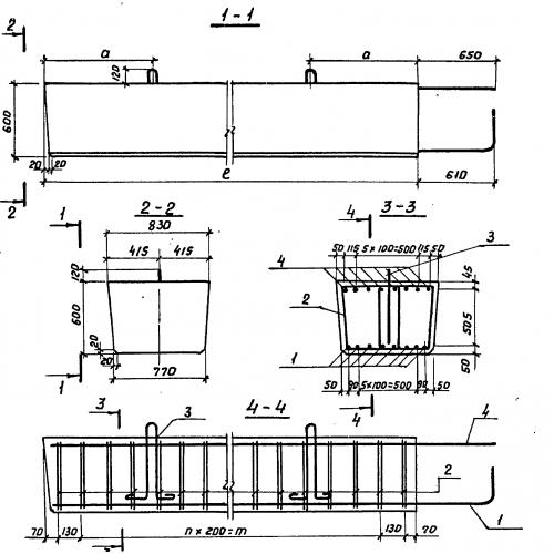
Л-1

Чертеж изделия:
Характеристики изделия:
ПараметрЗначение
длина5450 мм
ширина830 мм
высота720 мм
вес5800 кг
серия3.503.1-57

Л-1 Блоки лежня по серии 3.503.1-57.