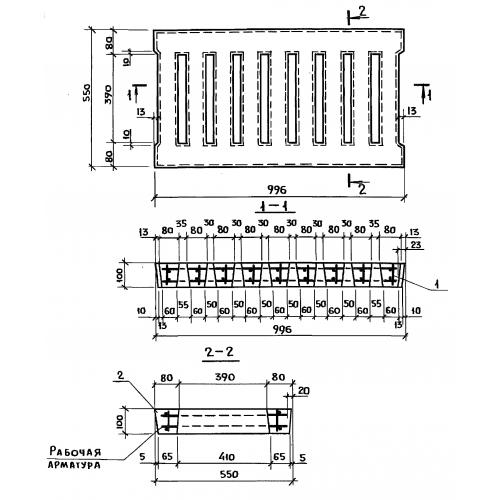
РП 55.100

Чертеж изделия:
Характеристики изделия:
ПараметрЗначение
длина550 мм
ширина996 мм
высота100 мм
вес102,5 кг
серия3.818.9-2

РП 55.100 Решетки перекрытий каналов навозоудаления по серии 3.818.9-2.