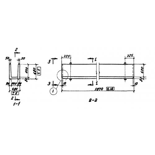
ЛП 4-60

Чертеж изделия:
Характеристики изделия:
ПараметрЗначение
длина5970 мм
ширина480 мм
высота680 мм
вес1830 кг
серия3.900-2

ЛП 4-60 Элементы прямоугольных лотков  по серии 3.900-2.