ФБС 9.5.6

Чертеж изделия:
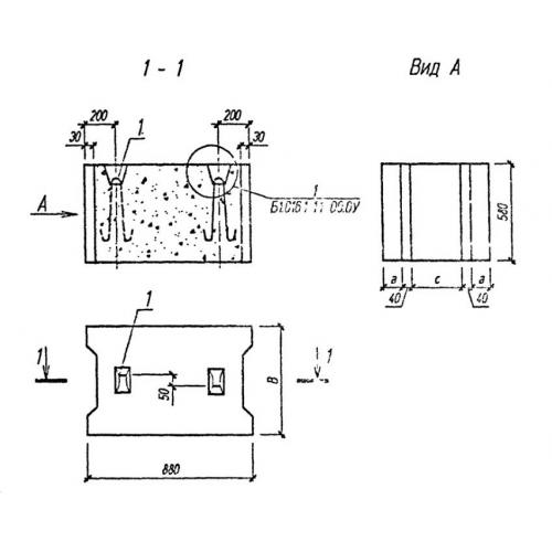
Характеристики изделия:
ПараметрЗначение
длина880 мм
ширина500 мм
высота580 мм
масса590 кг
нормативный документСерия Б 1.016.1-1

ФБС 9.5.6  Фундаментные блоки сплошного сечения по Серии Б 1.016.1-1.