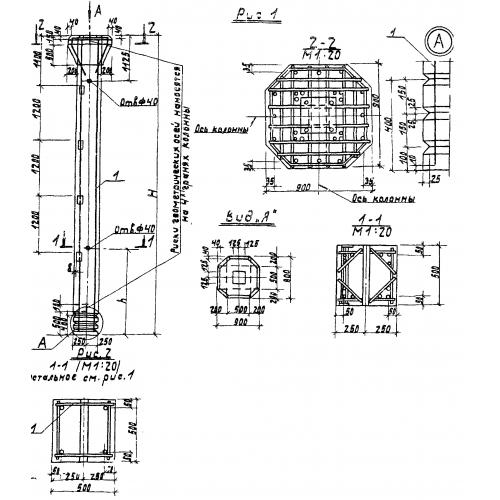
К 2

Чертеж изделия:
Характеристики изделия:
ПараметрЗначение
длина2520 мм
ширина400 мм
высота400 мм
вес1330 кг
серияИИ 22-1

К 2 Колонны по серии ИИ 22-1.