ЛПУ 2

Чертеж изделия:
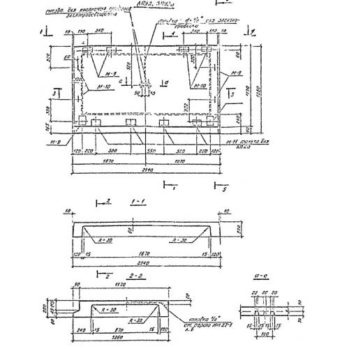
Характеристики изделия:
ПараметрЗначение
длина2140 мм
ширина1260 мм
высота220 мм
вес800 кг
Шифр789-04

ЛПУ 2   Лестничные площадки  по Шифру 789-04.