К 72
Характеристики изделия:
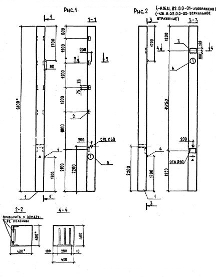
| Параметр | Значение |
|---|---|
| длина | 8100 мм |
| ширина | 400 мм |
| высота | 400 мм |
| вес | 3300 кг |
| серия | ТП 503-7-13.88 |
Цена:
Рассчитать стоимостьК 72 Колонны по проекту ТП 503-7-13.88.
| Параметр | Значение |
|---|---|
| длина | 8100 мм |
| ширина | 400 мм |
| высота | 400 мм |
| вес | 3300 кг |
| серия | ТП 503-7-13.88 |
К 72 Колонны по проекту ТП 503-7-13.88.