К
Характеристики изделия:
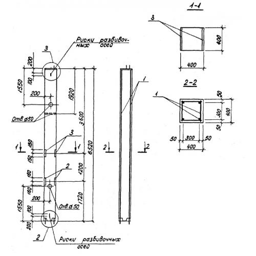
| Параметр | Значение |
|---|---|
| длина | 6520 мм |
| ширина | 400 мм |
| высота | 400 мм |
| вес | 2600 кг |
| серия | ТП 901-5-38.87 |
Цена:
Рассчитать стоимостьК Колонны по проекту ТП 901-5-38.87.
| Параметр | Значение |
|---|---|
| длина | 6520 мм |
| ширина | 400 мм |
| высота | 400 мм |
| вес | 2600 кг |
| серия | ТП 901-5-38.87 |
К Колонны по проекту ТП 901-5-38.87.
